VAN TUẦN TỰ
Định nghĩa
Van tuần tự là một thiết bị thủy lực được sử dụng với mục đích để điều chỉnh áp suất trong mạch thủy lực. Chức năng của van tuần tự là cho phép mạch thủy lực làm việc theo thứ tự trước sau của các cơ cấu tác động khi đạt ngưỡng áp suất cài đặt.
Ví dụ về chức năng của van tuần tự được thể hiện trong mạch thủy lực sau:

- Khi dòng chất lỏng qua van phân phối vào xylanh, dòng chất lỏng sẽ làm cho pittông di chuyển đến vị trí kẹp phôi. Khi pittông đã kẹp chặt phôi, giá trị của áp suất chất lỏng sẽ tiếp tục tăng dần cho đến khi vượt qua giá trị cài đặt định mức của van tuần tự, cửa ra của van tuần tự sẽ mở và cung cấp cho cơ cấu khác trong cùng một hệ thống tiếp tục làm việc.
 
Phân loại
Van tuần tự được chia thành hai nhóm chính:
- Kiểu van tác động trực tiếp

 - Ký hiệu



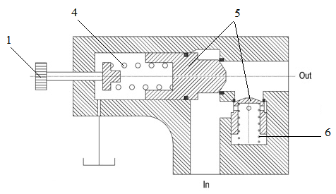
 - Cấu tạo

 
Cấu tạo của van bao gồm:
1: Vít điều chỉnh 4,6: Lò xo
2: Đầu vào van 5: Bi trụ và con trượt
3: Đầu ra van
Nguyên lý hoạt động
Ban đầu, khi chất lỏng có áp suất p1 đi vào cửa vào 2 của van và khi áp suất do chất lỏng tạo ra vượt qua áp suất định mức được cài đặt bởi lò xo 4 thông qua vít điều chỉnh 1 nó sẽ thắng lực gây ra bởi lò xo 4, cửa ra 3 của van được mở, dầu được đưa vào mạch thủy lực làm việc.
Khi dòng chất lỏng có áp suất p2 đi theo chiều ngược lại tức là từ cửa ra 3 sang cửa vào 2 và khi áp suất do chất lỏng tạo ra vượt qua áp suất gây ra bởi lò xo 6 của van một chiều, nó sẽ thắng lực gây ra bởi lò xo 6, cửa vào 2 của van được mở, dầu được đưa về bể chứa.
- Kiểu van tác động gián tiếp.

 - Ký hiệu và cấu tạo
 


Cấu tạo của van bao gồm:
- 1: Vít điều chỉnh 4: Cửa vào
 - 2: Lò xo 1, 2 5: Cửa ra
 - 3: Bi trụ ( con trượt)
 
Nguyên lý hoạt động
Ban đầu, khi lực gây ra bởi áp suất đầu vào p1 nhỏ hơn lực lò xo của van phụ thì cửa vào van phụ và van chính cũng đóng, áp suất trong khoang van chính bằng áp suất vào van phụ.
Khi áp suất p1 tăng thì áp suất trong khoang van chính cũng tăng, lực gây ra bởi áp suất này lớn hơn lực lò xo của van phụ thì van phụ mở cho dầu về bể, áp suất trong khoang van chính bằng áp suất p2.
Nếu áp suất p1 tiếp tục tăng thì hiệu áp suất (p1 – p2) cũng tăng cho đến khi lực tác động của hiệu áp suất này thắng lực đàn hồi lò xo của van chính thì van chính mở cho dầu qua van chính về bể.
Khi dòng chất lỏng đi theo chiều ngược lại tức là từ cửa ra sang cửa vào và khi áp suất do chất lỏng tạo ra vượt qua áp suất gây ra bởi lò xo của van một chiều, nó sẽ thắng lực gây ra bởi lò xo, cửa vào của van được mở, dầu được đưa về bể chứa.
Xem thêm: Van tuần tự VSL, Van tuần tự điều chỉnh áp suất trực tiếp Rexroth...
Ứng dụng
- Mạch thủy lực điều khiển 2 xylanh hoạt động dùng một van tuần tự

 - Mạch thủy lực điều khiển 2 xylanh hoạt động dùng hai van tuần tự


 
							
						








														
													
buivanhau
														
													
Pham xuan Lai