BƠM PISTON
Khái niệm
Bơm piston (PISTON PUMP) thuộc nhóm bơm thể tích, là một trong những loại bơm phổ biến nhất hiện nay, được sử dụng nhiều trong hệ thống thủy lực. Bơm hoạt động dựa trên nguyên tắc thay đổi thể tích của cơ cấu pittông-xylanh (xilanh thủy lực)
Phân loại
Dựa vào cấu tạo và cách bố trí pittông, bơm piston được chia thành ba loại chính:
- Bơm piston hướng trục: piston của bơm được đặt song song với trục quay và được truyền động bằng khớp hoặc đĩa nghiêng. Piston luôn tì sát vào mặt của đĩa nghiêng nên chúng vừa tham gia chuyển động tịnh tiến, vừa tham gia chuyển động quay của rotor.
- Bơm piston hướng kính: piston chuyển động theo phương hướng tâm với trục quay của rotor. Tùy vào số lượng piston mà bơm có lưu lượng khác nhau. Nhược điểm là kích thước lớn, chế tạo phức tạp.
- Bơm piston dãy: Piston được sắp xếp theo hàng trên một trục cam đặc biệt, mang một số vòng bi lăn lệch tâm. Chất lỏng được hút vào, đẩy ra xy lanh thông qua các van nạp vào lò xo.
Đặc điểm
- Dễ dàng chế tạo với độ chính xác cao do bề mặt làm việc của bơm có dạng mặt trụ.
- Hiệu suất làm việc cao.
- Làm việc với hệ thống có áp suất cao.
- Dễ dàng điều chỉnh lưu lượng qua bơm đối với bơm piston điều chỉnh được lưu lượng.
- Dễ dàng thay thế, bảo trì, bảo dưỡng.
Cấu tạo
-
Bơm piston hướng trục

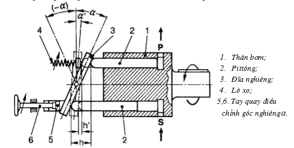
Cấu tạo gồm: Đầu vào, Đầu ra, Pittông, Thân bơm ( Xylanh), Đĩa nghiêng, Lò xo, Tay quay.
-
Bơm piston hướng kính

-
Bơm piston kiểu dãy

Cấu tạo: Đầu vào, Đầu ra, Trục điều khiển, Cơ cấu cam, Pittông.
Xem thêm: Bơm Piston OMFB, Bơm Piston Hướng Trục, Bơm Piston Hướng Kính Rexroth
Nguyên lý hoạt động
Bơm piston hoạt động dựa trên nguyên tắc thay đổi thể tích của cơ cấu pittông-xylanh, khi thể tích giữa pittông và xylanh tăng thì bơm sẽ thực hiện quá trình hút và ngược lại.
Khi bơm làm việc, trục điều khiển quay làm cho đĩa nghiêng ( đối với bơm piston hướng trục) và cơ cấu cam ( đối với bơm piston hướng kính và bơm piston dãy) quay theo. Khi đĩa nghiêng và cơ cấu cam quay được một vòng, các pittông sẽ thực hiện hai hành trình tương ứng với việc hút, đẩy chất lỏng. Quá trình này diễn ra liên tục tạo nên dòng chất lỏng liên tục qua bơm.
Khi muốn điều chỉnh lưu lượng qua bơm, ta chỉ cần điều chỉnh độ lệch tâm ( đối với cơ cấu cam), điều chỉnh độ nghiêng của đĩa nghiêng ( đối với cơ cấu đĩa nghiêng).
Các công thức tính toán
Bơm piston hướng trục
Gọi:
- d: đường kính xylanh ( cm).
- z: số lượng pittông.
- n: số vòng quay ( vòng/ phút).
- e: độ lệch tâm ( cm).
- h: hành trình pittông (cm), h= 2e
Thể tích xylanh sau một vòng quay:
q= (π×d2×h)/4 [ cm3/ vòng]
Lưu lượng bơm:
Q= 10-3×q×z×n= [10-3×(π×d2×h) ×z×n ]/4 [lít/ phút]
Bơm piston hướng kính
Lưu lượng bơm:
Q= [10-3×(π×d2×h) ×z×n ]/4= [10-3×(π×d2×D×tgα) ×z×n ]/4 [lít/ phút]
Trong đó:
- d, z, n, e, h: là các thông số như bơm piston hướng trục.
- α: góc nghiêng.
- D: đường kính phân bố các xylanh ( cm).



Viết bình luận của bạn