Bơm Piston OMFB
Giá 17.679.200₫
Mô tả :
Bảo hành: 6 tháng
Đánh giá sản phẩm
Kích thước lắp đặt bơm Piston OMFB

Thông số kỹ thuật của bơm Piston OMFB
| Mã bơm | Dung tích (cm3/rev) |
Áp suất max (Bar) | Tốc độ min (rpm) | Tốc độ max (rpm) | Cổng vào | Cổng ra | Mã VH | Giá |
|---|---|---|---|---|---|---|---|---|
| HDS-84 ISO | 84.33 | 350 | 300 | 2500 | G1 1/4 | G1 | 343 | 20.204.800 |
| HDS-64 ISO | 64 | 350 | 300 | 2000 | G1 1/4 | G1 | 43 | 17.679.200 |
| HDS-108 ISO | 107 | 350 | 300 | 2000 | G1 1/2 | G1 | 143 | 20.578.800 |
Tổng Quan Bơm Piston OMFB
Bơm piston (PISTON PUMP) thuộc nhóm bơm thể tích hoạt động dựa trên nguyên tắc thay đổi thể tích của cơ cấu pittông-xylanh, khi thể tích giữa pittông và xylanh tăng thì bơm sẽ thực hiện quá trình hút và ngược lại. Bơm Piston là một trong những loại bơm phổ biến được sử dụng nhiều nhất hiện nay.
Bơm piston OMFB được sử dụng nhiều trong các hệ thống truyền động thủy lực, máy ép thủy lực… trong các nhà máy sản xuất thép, ximăng đóng tàu, sản xuất giấy, bao bì, xe chuyên dùng.


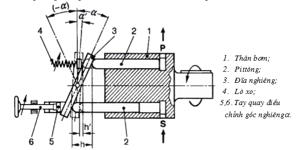
Cấu tạo Bơm Piston OMFB
- Đầu vào
- Đầu ra
- Pittông
- Thân bơm ( Xylanh)
- Đĩa nghiêng
- Lò xo
- Tay quay.
Ưu điểm của Bơm Piston OMFB
- Tốc độ quay làm việc: 2000v/p
- Áp suất đạt: 400 bar
- Dễ dàng chế tạo với độ chính xác cao do bề mặt làm việc của bơm có dạng mặt trụ
- Hiệu suất làm việc cao
- Làm việc với hệ thống có áp suất cao
- Dễ dàng điều chỉnh lưu lượng qua bơm đối với bơm piston điều chỉnh được lưu lượng
- Dễ dàng thay thế, bảo trì, bảo dưỡng
Lưu ý quan trọng

- Kiểm tra kỹ mức dầu, chất lượng dầu và chiều quay của bơm trước khi vận hành
- Sử dụng khớp nối bằng cao su để lắp trục bơm với động cơ. Chú ý tới độ lệch tâm, nếu độ lệch quá lớn sẽ làm hư hỏng phốt và bạc đạn. Mức lệch cho phép là dưới 0.1 mm.
-
Để tăng áp hay lưu lượng thì vặn vít điều chỉnh áp suất cùng chiều kim đồng hồ và nếu muốn giảm áp thì vặn ngược lại. Mức áp suất hay lưu lượng sẽ thay đổi theo số vòng quay của vít
- Lắp van xả khí ở đường dầu ra để giảm rung của bơm.